Product Summary
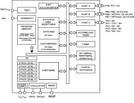
The ST62T65B6 is a low cost microcontroller, which is targeted at low to medium complexity application. The ST62T65B6 based on a building block approach, a common core is surrounded by a number of on-chip peripherals. The ST62T65B6 functionally identical. The ROM based versions offer the same functionality selecting as ROM options the options defined in the programmable option byte of the ST62T65B6 versions.
Parametrics
ST62T65B6 absolute maximum ratings: (1)VDD, supply voltage: -0.3 to 7.0 V; (2)VI, input voltage VSS: - 0.3 to VDD + 0.3(1)V; (3)VO, output voltage VSS: - 0.3 to VDD + 0.3(1)V; (4)IO, current drain per pin excluding VDD, VSS: ±10 mA; (5)IVDD, total current into VDD (source): 50 mA; (6)IVSS, total current out of VSS (sink): 50 mA; (7)Tj, junction temperature: 150 °C; (8)TSTG, storage temperature: -60 to 150 °C.
Features
ST62T65B6 features: (1)3.0 to 6.0V Supply Operating Range; (2)8 MHz Maximum Clock Frequency; (3)-40 to +125°C Operating Temperature Range; (4)Run, Wait and Stop Modes; (5)5 Interrupt Vectors; (6)Look-up Table capability iProgram Memory; (7)Data Storage iProgram Memory: User selectable size; (8)Data RAM: 128 bytes; (9)Data EEPROM: 128 bytes(none oST62T55B); (10)User Programmable Options; (11)21 I/O pins, fully programmable as: Input with pull-up resistor; Input without pull-up resistor; Input with interrupt generation; Open-draior push-pull output; Analog Input; (12)8 I/O lines casink up to 20mA to drive LEDs or TRIACs directly.
Diagrams

(Hong Kong)






