Product Summary
The AM29LV128MH-123REI is a 128 Mbit, 3.0 volt single power supply flash memory devices organized as 8,388,608 words or 16,777,216 bytes. The AM29LV128MH-123REI has a 16-bit wide data bus that can also function as an 8-bit wide data bus by using the BYTE# input. The AM29LV128MH-123REI can be programmed either in the host system or in standard EPROM programmers. The AM29LV128MH-123REI requires only a single 3.0 volt power supply for both read and write functions. In addition to a VCC input, a high-voltage accelerated program (WP#/ACC) input provides shorter programming times through increased current. This feature is intended to facilitate factory throughput during system production, but may also be used in the field if desired.
Parametrics
AM29LV128MH-123REI absolute maximum ratings: (1)Plastic Packages: –65℃ to +150℃; (2)Ambient Temperature with Power Applied: –65℃ to +125℃; (3)Voltage with Respect to Ground; (4)VCC: –0.5 V to +4.0 V; (5)VIO: –0.5 V to +4.0 V; (6)All other pins: –0.5 V to VCC +0.5 V; (7)Output Short Circuit Current : 200 mA.
Features
AM29LV128MH-123REI features: (1)Single power supply operation; (2)VersatileI/O control; (3)Manufactured on 0.23 μm MirrorBit process technology; (4)Secured Silicon Sector region; (5)Flexible sector architecture; (6)Compatibility with JEDEC standards; (7)Minimum 100,000 erase cycle guarantee per sector; (8)20-year data retention at 125℃; (9)High performance.
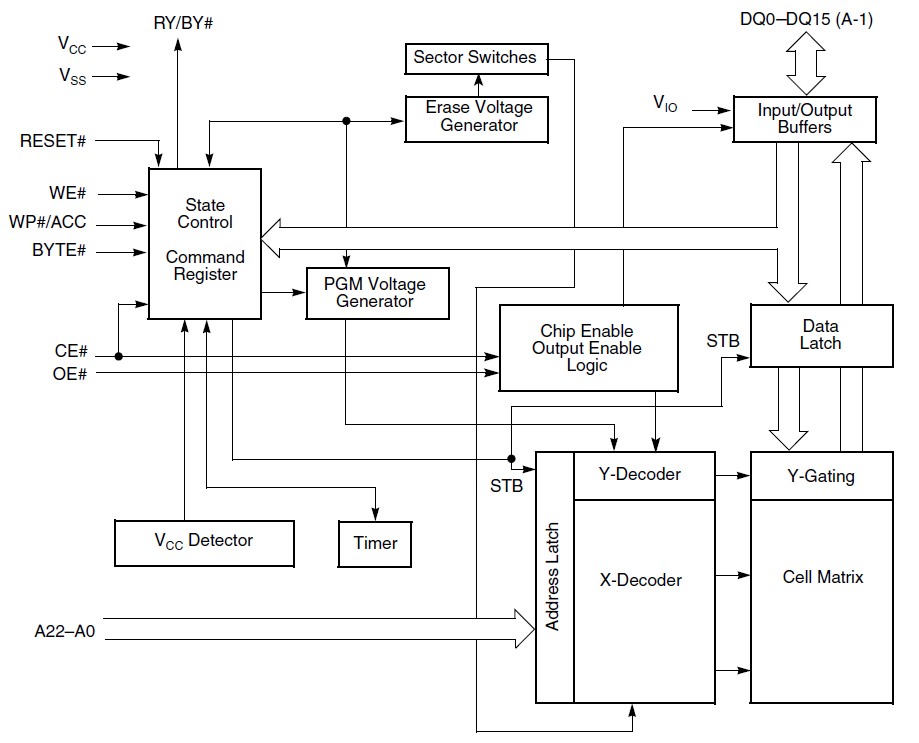
Diagrams

(Hong Kong)






