Product Summary
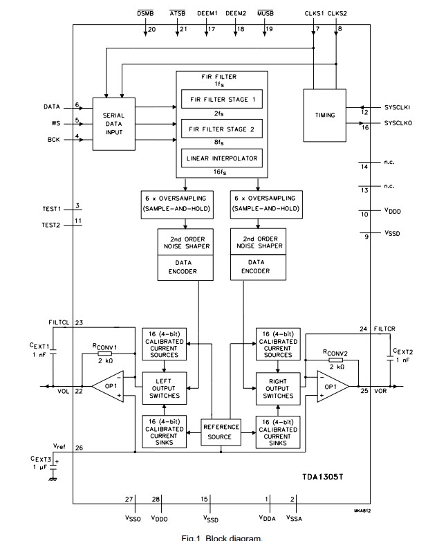
The TDA1305T is a filter-DAC which features a unique combination of bitstream and continuous calibration techniques. The converter functions as a bitstream converter for low signals while large signals are generated using the dynamic continuous calibration technique, thus resulting in low power consumption, small chip size and easy application.
Parametrics
TDA1305T absolute maximum ratings: (1)digital supply voltage: 7.0 V; (2)VDDA analog supply voltage: 7.0 V; (3)VDDO operational amplifier supply voltage: 7.0 V; (4)Txtal maximum crystal temperature : +150 °C; (5)Tstg storage temperature: -65 to +150 °C; (6)Tamb ambient operating temperature: -30 to +85 °C; (7)Ves electrostatic handling: -2000 to +2000 V.
Features
TDA1305T features: (1)Bitstream continuous calibration concept; (2)Small outline SO28 package; (3)Voltage output 1.5 V (RMS)at line drive level; (4)Low total harmonic distortion; (5)No zero crossing distortion; (6)Inherently monotonic; (7)No analog post filtering required; (8)Superior signal-to-noise ratio; (9)Wide dynamic range (18-bit); (10)Single rail supply (3.4 to 5.5 V).
Diagrams
| Image | Part No | Mfg | Description | ![]() |
Pricing (USD) |
Quantity | ||||||||||||
|---|---|---|---|---|---|---|---|---|---|---|---|---|---|---|---|---|---|---|
![]() |
![]() TDA1305T |
![]() Other |
![]() |
![]() Data Sheet |
![]() Negotiable |
|
||||||||||||
| Image | Part No | Mfg | Description | ![]() |
Pricing (USD) |
Quantity | ||||||||||||
![]() |
![]() TDA1001B |
![]() Other |
![]() |
![]() Data Sheet |
![]() Negotiable |
|
||||||||||||
![]() |
![]() TDA1001BT |
![]() Other |
![]() |
![]() Data Sheet |
![]() Negotiable |
|
||||||||||||
![]() |
![]() TDA10021HT |
![]() Other |
![]() |
![]() Data Sheet |
![]() Negotiable |
|
||||||||||||
![]() |
![]() TDA10025HN/C1,518 |
![]() NXP Semiconductors |
![]() Modulator / Demodulator Dual Cable (QAM) Demodulator |
![]() Data Sheet |
![]()
|
|
||||||||||||
![]() |
![]() TDA10025HN/C1,551 |
![]() NXP Semiconductors |
![]() Modulator / Demodulator DUAL CBL DEMODULATOR |
![]() Data Sheet |
![]()
|
|
||||||||||||
![]() |
![]() TDA10025HN/C1,557 |
![]() NXP Semiconductors |
![]() Modulator / Demodulator DUAL CBL DEMODULATOR |
![]() Data Sheet |
![]()
|
|
||||||||||||
(Hong Kong)









