Product Summary
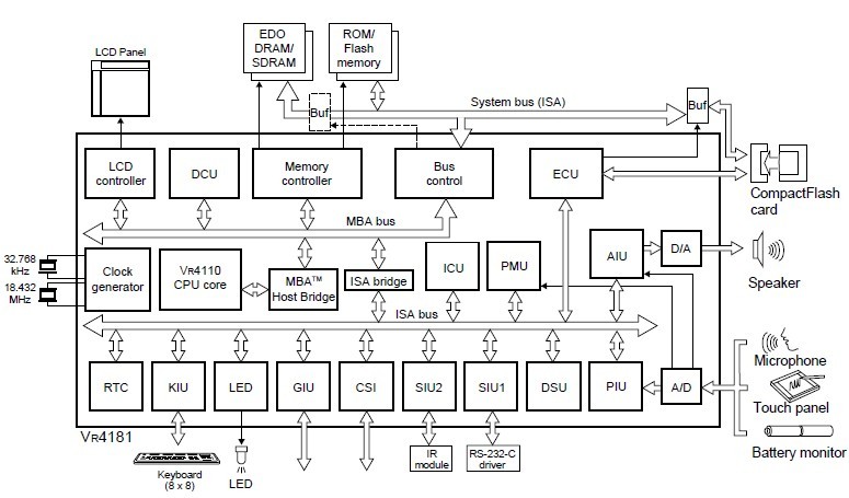
The UPD30181GM-66-8ED is a 64-/32-bit microprocessor employing the RISC (reduced instruction set computer) architecture developed by MIPSTM, is one of the VR-Series microprocessor products manufactured by NEC Electronics. The UPD30181GM-66-8ED contains the VR4110TM CPU core of ultra-low-power consumption with cache memory, high-speed product-sum operation unit, and memory management unit. The UPD30181GM-66-8ED also has interface units for peripheral circuits such as LCD controller, CompactFlash controller, DMA controller, keyboard interface, serial interface, IrDA interface, touch panel interface, real-time clock, A/D converter and D/A converter required for the battery-driven portable information equipment.
Features
UPD30181GM-66-8ED features: (1)Write-back cache for reducing store operation that use the system bus; (2)32-bit physical address space and 40-bit virtual address space, and 32 double-entry TLB; (3)Instruction set: MIPS III (with the FPU, LL and SC instructions left out)and MIPS16; (4)Supports MADD16 and DMADD16 instructions for executing a multiply-and-accumulate operation of 16-bit data x 16-bit data + 64-bit data within one clock cycle; (5)Effective power management features, which include four operating modes, Fullspeed, Standby, Suspend and Hibernate mode; (6)On-chip PLL and clock generator; (7)DRAM interface supporting 16-bit width SDRAM and EDO DRAM; (8)Ordinary ROM/PageROM/flash memory interface; (9)UMA based LCD controller; (10)4-channel DMA controller; (11)RTC unit including 3-channel timers and counters; (12)Two UART-compatible serial interfaces and one clocked serial interface; (13)IrDA (SIR)interface; (14)Keyboard scan interface supporting 8 x 8 key matrix; (15)X-Y auto-scan touch panel interface; (16)CompactFlash interface compatible with ExCA; (17)A/D and D/A converters; (18)Includes ISA-subset bus; (19)Supply voltage: 2.5 V for CPU core, 3.3 V for I/O; (20)Package: 160-pin LQFP.
Diagrams

(Hong Kong)






