Product Summary
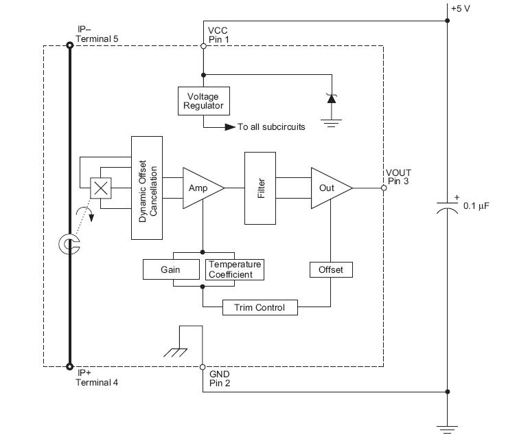
The ACS755 is a Current Sensor. It provides economical and precise solutions for current sensing in industrial, automotive, commercial, and communications systems. The ACS755 allows for easy implementation by the customer. Typical applications include load detection and management, power supplies, and overcurrent fault protection. It is widely used in automotive systems, Industrial systems, Power conversion, Battery monitors.
Parametrics
ACS755 absolute maximum ratings: (1)Supply Voltage, VCC: 16V; (2)Reverse Supply Voltage, VRCC:–16V; (3)Output Voltage, VOUT: 16 V; (4)Reverse Output Voltage, VROUT:–0.1V; (5)Output Current Source, IOUT(Source):3mA; (6)Output Current Sink, IOUT(Sink): 10mA; (7)Operating Temperature, Ambient, TA, L range:–40℃ to 150℃; (8)Maximum Junction, TJ(max): 165℃; (9)Maximum Storage Temperature, TS:–65℃ to 170℃.
Features
ACS755 features: (1)Monolithic Hall IC for high reliability; (2)Single +5 V supply; (3)3kVRMS isolation voltage between terminals 4/5 and pins 1/2/3; (4)18kHz bandwidth; (5)Automotive temperature range; (6)End-of-line factory-trimmed for gain and offset; (7)Ultra-low power loss: 100μΩ internal conductor resistance; (8)Ratiometric output from supply voltage; (9)Extremely stable output offset voltage; (10)Small package size, with easy mounting capability; (11)Output proportional to ac and dc currents.
Diagrams

| Image | Part No | Mfg | Description | ![]() |
Pricing (USD) |
Quantity | ||||
|---|---|---|---|---|---|---|---|---|---|---|
![]() |
![]() ACS755KCB-150-PSF |
![]() |
![]() SENSOR CURRENT 150A 5V UNI 5-CB |
![]() Data Sheet |
![]() Negotiable |
|
||||
![]() |
![]() ACS755LCB-050-PFF |
![]() |
![]() SENSOR CURRENT 50A 5V UNI 5-CB |
![]() Data Sheet |
![]() Negotiable |
|
||||
![]() |
![]() ACS755LCB-100-PFF |
![]() |
![]() SENSOR CURRENT 100A 5V UNI 5-CB |
![]() Data Sheet |
![]() Negotiable |
|
||||
![]() |
![]() ACS755LCB-130-PFF |
![]() |
![]() SENSOR CURRENT 130A 5V UNI 5-CB |
![]() Data Sheet |
![]() Negotiable |
|
||||
![]() |
![]() ACS755SCB-130-PSF |
![]() |
![]() SENSOR CURRENT 130A 5V UNI 5-CB |
![]() Data Sheet |
![]() Negotiable |
|
||||
![]() |
![]() ACS755SCB-150-PSF |
![]() |
![]() SENSOR CURRENT 150A 5V UNI 5-CB |
![]() Data Sheet |
![]() Negotiable |
|
||||
![]() ACS755SCB-200-PSF |
![]() |
![]() SENSOR CURRENT 200A 5V UNI 5-CB |
![]() Data Sheet |
![]() Negotiable |
|
|||||
![]() |
![]() ACS755SCB-130-PFF |
![]() |
![]() SENSOR CURRENT 130A 5V UNI 5-CB |
![]() Data Sheet |
![]() Negotiable |
|
||||
(Hong Kong)










