Product Summary
The CXK581000M-10L is a high speed CMOS static RAM organized as 131072-words by 8 bits. A polysilicon TFT cell technology realized extremely low stand- by current and higher data retention stability. Special feature are low power consumption, high speed and broad package line-up. The CXK581000M-10L ia a suitable RAM for portable equipment with battery back up.
Parametrics
CXK581000M-10L absolute maximum ratings: (1)Supply voltage Vcc: -.0.5 to 7.0 V; (2)Input voltage VIN: –0.5* to VCC +0.5 V; (3)Input and output voltage VI/O: –0.5* to VCC +0.5 V; (4)Allowable power dissipation PD: 1.0 W; (5)Operating temperature Topr: 0 to +70 °C; (6)Storage temperature Tstg: –55 to +150 °C; (7)Soldering temperature Tsolder: 260 .10 °C .s.
Features
CXK581000M-10L features: (1)Fast access time: CXK581000ATM/AYM/AM/AP (Access time); 55LL/55SL 55ns (Max.); 70LL/70SL 70ns (Max.); 10LL/10SL 100ns (Max.).; (2)Low standby current: CXK581000ATM/AYM/AM/AP; 55LL/70LL/10LL 20μA (Max.); 55SL/70SL/10SL 12μA (Max.).; (3)Low data retention current: CXK581000ATM/AYM/AM/AP; 55LL/70LL/10LL 12μA (Max.); 55SL/70SL/10SL 4μA (Max.).; (4)Single +5V supply: +5V ±10%; (5)Low voltage data retention: 2.0V (Min.); (6)Broad package line-up; (7)CXK581000ATM/AYM 8mm ´ 20mm 32 pin TSOP package; (8)CXK581000AM 525mil 32 pin SOP package; (9)CXK581000AP 600mil 32 pin DIP package.
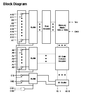
Diagrams

(Hong Kong)






