Product Summary
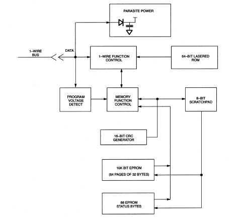
The DS2505P 16-kbit Add–Only Memory identifies and stores relevant information about the product to which it is associated. This lot or product specific information can be accessed with minimal interface, for example a single port pin of a microcontroller. The DS2505P consists of a factory-lasered registration number that includes a unique 48-bit serial number, an 8-bit CRC, and an 8-bit Family Code (0BH) plus 16 kbits of user-programmable EPROM. Typical applications of the DS2505P include storage of calibration constants, maintenance records, asset tracking, product revision status and access codes.
Parametrics
DS2505P absolute maximum ratings: (1)Voltage on any Pin Relative to Ground: -0.5V to +12.0V; (2)Operating Temperature: -40°C to +85°C; (3)Storage Temperature: -55°C to +125°C; (4)Input Load Current IL: 5 μA; (5)Time Slot tSLOT: 60 to 120 μs.
Features
DS2505P features: (1)EPROM partitioned into sixty-four 256-bit pages for randomly accessing packetized data records; (2)Each memory page can be permanently writeprotected to prevent tampering; (3)Architecture allows software to patch data by superseding an old page in favor of a newly programmed page; (4)Reduces control, address, data, power, and programming signals to a single data pin; (5)Directly connects to a single port pin of a microprocessor and communicates at up to 16.3 kbits per second; (6)8-bit family code specifies DS2505 communications requirements to reader; (7)Presence detector acknowledges when the reader first applies voltage; (8)Low cost TO-92 or 6-pin TSOC surface mount package.
Diagrams
| Image | Part No | Mfg | Description | ![]() |
Pricing (USD) |
Quantity | ||||||||||||
|---|---|---|---|---|---|---|---|---|---|---|---|---|---|---|---|---|---|---|
![]() |
![]() DS2505P/T&R |
![]() Maxim Integrated Products |
![]() EPROM |
![]() Data Sheet |
![]() Negotiable |
|
||||||||||||
![]() |
![]() DS2505P+ |
![]() Maxim Integrated Products |
![]() EPROM 16Kb Add-Only Memory |
![]() Data Sheet |
![]()
|
|
||||||||||||
![]() |
![]() DS2505P+T&R |
![]() Maxim Integrated Products |
![]() EPROM 16Kb Add-Only Memory |
![]() Data Sheet |
![]()
|
|
||||||||||||
![]() |
![]() DS2505P |
![]() Maxim Integrated Products |
![]() EPROM |
![]() Data Sheet |
![]() Negotiable |
|
||||||||||||
(Hong Kong)









