Product Summary
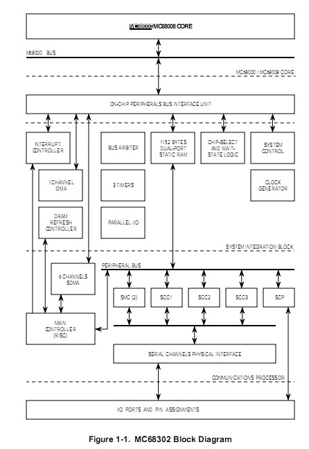
The MC68000P10 integrated multiprotocol processor (IMP) is a very large-scale integration (VLSI) device incorporating the main building blocks needed for the design of a wide variety of controllers. The MC68000P10 is especially suitable to applications in the communications industry. The IMP is the first device to offer the benefits of a closely coupled, industry-standard MC68000 microprocessor core and a flexible communications architecture. The MC68000P10 IMP may be configured to support a number of popular industry interfaces, including those for the Integrated Services Digital Network (ISDN) basic rate and terminal adaptor applications.
Parametrics
MC68000P10 absolute maximum ratings: (1)Supply Voltage: - 0.3 to + 7.0 V; (2)Input Voltage: - 0.3 to + 7.0 V; (3)Storage Temperature Range: - 55 to + 150 ℃.
Features
MC68000P10 features: (1)On-Chip HCMOS MC68000/MC68008 Core Supporting a 16 or 8 Bit M68000 Family-System; (2)Interrupt Controller with Two Modes of Operation; (3)Parallel Input/Output (I/O) Ports, Some with Interrupt Capability; (4)On-Chip 1152-Byte Dual-Port RAM; (5)Three Timers Including a Watchdog Timer; (6)Four Programmable Chip-Select Lines with Wait-State Generator Logic; (7)Programmable Address Mapping of the Dual-Port RAM and IMP Registers; (8)On-Chip Clock Generator with Output Signal; (9)Main Controller (RISC Processor).
Diagrams

![]() |
![]() MC6800 |
![]() Other |
![]() |
![]() Data Sheet |
![]() Negotiable |
|
||||
![]() |
![]() MC6801 |
![]() Other |
![]() |
![]() Data Sheet |
![]() Negotiable |
|
||||
![]() |
![]() MC68020 |
![]() Other |
![]() |
![]() Data Sheet |
![]() Negotiable |
|
||||
![]() |
![]() MC68020CEH16E |
![]() Freescale Semiconductor |
![]() Microprocessors (MPU) 32-BIT MPU |
![]() Data Sheet |
![]() Negotiable |
|
||||
![]() |
![]() MC68020CEH25E |
![]() Freescale Semiconductor |
![]() Microprocessors (MPU) 32-BIT MPU |
![]() Data Sheet |
![]() Negotiable |
|
||||
![]() |
![]() MC68020CRC16E |
![]() Freescale Semiconductor |
![]() Microprocessors (MPU) 32-BIT MPU |
![]() Data Sheet |
![]() Negotiable |
|
||||
(Hong Kong)









