Product Summary
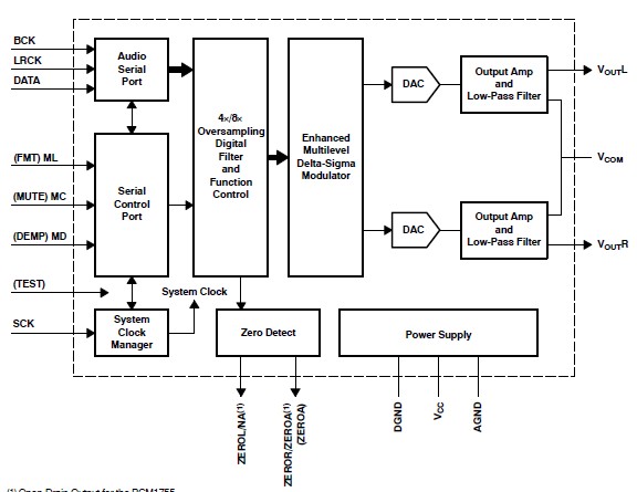
The PCM1754 is a sampling enhancde multi-level, delta-sigma, audio digital-to-analog converter. Its applications include A/V receivers, DVD movie players, DVD add-on cards for high-end PCs, DVD audio players, HDTV receivers, car audio systems, other applications requiring 24-bit audio.
Parametrics
PCM1754 absolute maximum ratings: (1)Supply voltage, VCC: -0.3 to 6.5V; (2)Ground voltage difference: AGND, DGND: ±0.1V; (3)Input voltage: -0.3 to 6.5V; (4)Input current: ±10mA; (5)Ambient temperature under bias: -40 to 125℃; (6)Storage temperature: -55 to 150℃; (7)Junction temperature: 150℃; (8)Lead temperature: 260℃; (9)Package temperature: 260℃.
Features
PCM1754 features: (1)24bit resolution; (2)Analog performance, dynamic range: 106dB; (3)System clock; (4)Software control; (5)Hardware control.
Diagrams

| Image | Part No | Mfg | Description | ![]() |
Pricing (USD) |
Quantity | ||||||||||||
|---|---|---|---|---|---|---|---|---|---|---|---|---|---|---|---|---|---|---|
![]() |
![]() PCM1754DBQ |
![]() Texas Instruments |
![]() Audio D/A Converter ICs 24-Bit 192kHz Stereo Audio DAC |
![]() Data Sheet |
![]()
|
|
||||||||||||
![]() |
![]() PCM1754DBQG4 |
![]() Texas Instruments |
![]() Audio D/A Converter ICs 24-Bit 192kHz Stereo Audio DAC |
![]() Data Sheet |
![]()
|
|
||||||||||||
![]() |
![]() PCM1754DBQRG4 |
![]() Texas Instruments |
![]() Audio D/A Converter ICs 24-Bit 192kHz Stereo Audio DAC |
![]() Data Sheet |
![]()
|
|
||||||||||||
![]() |
![]() PCM1754TDBQRQ1 |
![]() Texas Instruments |
![]() Audio D/A Converter ICs AC 106dB SNR Stereo DAC |
![]() Data Sheet |
![]()
|
|
||||||||||||
![]() |
![]() PCM1754DBQR |
![]() Texas Instruments |
![]() Audio D/A Converter ICs 24-Bit 192kHz Stereo Audio DAC |
![]() Data Sheet |
![]()
|
|
||||||||||||
![]() |
![]() PCM1754 |
![]() Other |
![]() |
![]() Data Sheet |
![]() Negotiable |
|
||||||||||||
(Hong Kong)










