Product Summary
The TG110-XIR8N2TR is ULTRA series of 16 pin SOIC Isolation Module to meet the requirements of IEEE 802.3 for 10/100BASE-TX and ATM155 applications. Designed to provide a significant real estate reduction at the lowest price.
Parametrics
TG110-XIR8N2TR absolute maximum ratings: (1)Isolation Voltage: 1,500Vrms; (2)OCL 100KHz, 8mA: 350μH min; (3)CMR (0.1-100MHz): -40dB typ; (4)Crosstalk (0.1-100MHz): -40dB min; (5)Insertion Loss (0.1-100MHz) -1.1dB max; (6)Return Loss (0.5-30MHz): -18dB min; (7)(40MHz): -15.5dB min; (8)(50MHz): -13.6dB min; (9)(60-80MHz): -12dB min.
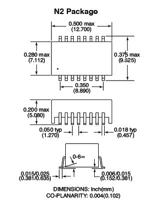
Diagrams

(Hong Kong)






