Product Summary
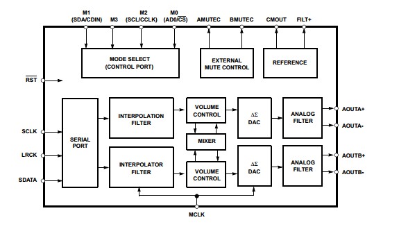
The 4391KZ is a 24-Bit, 192 kHz Stereo DAC. It accepts PCM data at sample rates from 2 kHz to 192 kHz, DSD audio data, consumes very little power and operates over a wide power supply range. These features are ideal for DVD, A/V receivers, CD and set-top box systems.
Parametrics
4391KZ absolute maximum ratings: (1)DC Power Supply: -0.3 to 6.0V; (2)Input Current, Any Pin Except Supplies Iin: ±10 mA; (3)Digital Input Voltage VIND: -0.3 to VL+0.4 V; (4)Ambient Operating Temperature (power applied)TA: -55 to 125 °C; (5)Storage Temperature Tstg: -65 to 150 °C.
Features
4391KZ features: (1)Complete Stereo DAC System: Interpolation, D/A, Output Analog Filtering; (2)108 dB Dynamic Range; (3)94 dB THD+N; (4)Direct Stream Digital Mode; (5)Low Clock Jitter Sensitivity; (6)+5 V to +3 V Power Supply; (7)ATAPI Mixing; (8)On-Chip Digital De-emphasis for 32, 44.1, and 48 kHz; (9)Volume Control with Soft Ramp.
Diagrams
(Hong Kong)






