Product Summary
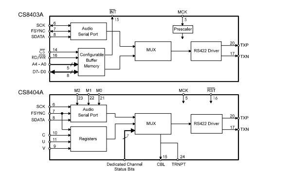
The CS8404A-CS is a digital audio transmitter which supports 96kHz sample rate operation. The CS8404A-CS encode and transmit audio data according to the AES/EBU, IEC958, S/PDIF, & EIAJ CP-340 interface standards. The CS8404A-CS accepts audio and digital data, which is then multiplexed, encoded and driven onto a cable.
Parametrics
CS8404A-CS absolute maximum ratings: (1)DC Power Supply: VD+: 6.0 V; (2)Input Current, Any Pin Except Supply: Iin: ±10 mA; (3)Digital Input Voltage: VIND: -0.3 to VD+ V; (4)Ambient Operating Temperature (power applied): TA: -55 to 125 °C; (5)Storage Temperature: Tstg: -65 to 150 °C.
Features
CS8404A-CS features: (1)Sample rates up to 108 kHz; (2)Supports: AES/EBU, IEC 958, S/PDIF, & EIAJ CP-340 professional and consumer formats; (3)Generates CRC codes and parity bits; (4)On-Chip RS422 line driver; (5)Configurable buffer memory (CS8403A); (6)Transparent mode allows direct connection of CS8404A and CS8414 or CS8403A and CS8413; (7)Pin compatible with CS8401A and CS8402A.
Diagrams
(Hong Kong)






