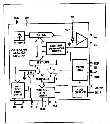
Product Summary
The MAX162ACNG is a complete 12-bit analog-to-digital converter that combines high speed, low power consumption, and an on-chip voltage reference. The buried zener reference provides low drift and low noise performance. The MAX162ACNG uses a standard microprocessor interface architecture. Three-state data outputs are controlled by read and chip select inputs. The applications of the MAX162ACNG are digital signal processing, high accurary process control, high speed data acquisition, electro-mechanical systems.
Parametrics
MAX162ACNG absolute maximum ratings: (1)VDD to DGND:-0.3V to +7V; (2)VSS to DGND:+0.3V to -17V; (3)AGND to DGND:-0.3V, VDD+0.3V; (4)AIN to AGND:-15V to +15V; (5)digital input voltage to DGND:-0.3V, VDD+0.3V; (6)operating temperature range:0 to +70℃; (7)storage temperature range:-65 to +160℃; (8)power dissipation:1000mW; (9)lead temperature(soldering 10 seconds):+300℃.
Features
MAX162ACNG features: (1)12-bit resolution and linearity; (2)3us, 5us conversion times; (3)no missing codes; (4)on-chip voltage reference; (5)90ns access time; (6)215mW max power consumption; (7)24-lead narrow DIP package.
Diagrams

| Image | Part No | Mfg | Description | ![]() |
Pricing (USD) |
Quantity | ||||||||||||
|---|---|---|---|---|---|---|---|---|---|---|---|---|---|---|---|---|---|---|
![]() |
![]() MAX162ACNG+ |
![]() Maxim Integrated Products |
![]() ADC (A/D Converters) 12-Bit 308ksps 5V Precision ADC |
![]() Data Sheet |
![]()
|
|
||||||||||||
![]() |
![]() MAX162ACNG |
![]() Maxim Integrated Products |
![]() ADC (A/D Converters) |
![]() Data Sheet |
![]() Negotiable |
|
||||||||||||
(Hong Kong)










